吊车机械手
- 本店售价:面议
面议
- 商品货号:ECS006313
无锡深蓝自动化设备有限公司,以技术创新为先导以用户需求为基础,用户利益为先,设备先进可靠,质量领先的关系;设计制造轴承清洗生产线中及各种设备深受用户好评。除此之外还设计制造:
1、工艺过程各类非标设备和生产线。例如1)自动定量包装设备和生产线,2)各类机械装配生产线,3)涂装生产线等。
2、各类工业机器人和机械手。例如1)搬运机械手,2)喷漆机械手,3)焊接机械手,4)码垛机械手操作机等。
3、机械液压气动非标生产设备 。例如1)液压可移动压装机,2)便利式液压吊等设备。
.jpg)
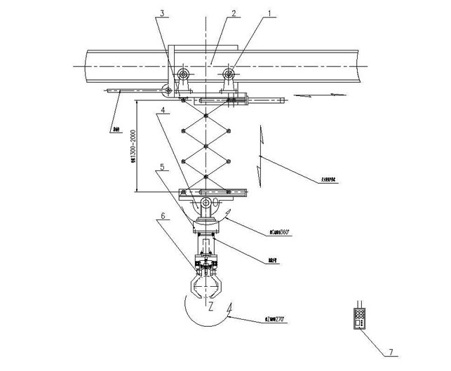
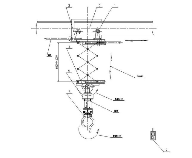
吊车机械手是直角坐标搬运机械手的应用特例。
吊车机械手,不是在现有吊车上安装上机械抓手就成为吊车机械手的,大车,小车的驱动要采用伺服电机,上下起吊的机构不能采用钢丝绳和钢绳卷筒,要采用刚性伸缩传动机构,这样才能使被搬运物件运行稳定可靠。
该吊车机械手有腕部结构,可以使物件从竖直变位到0~90°也可绕铅垂轴回转到任意角度。是铸造、装配等工艺过程机械化自动化技术改造的优选方案。
可多点位多路径按设定程序运行,可在高温,及恶劣环境下运行。代替人的繁重体力劳动和人的体力难以达到的重体力劳动。